WhatsApp/Wechat :+86 15922636221

Vous êtes ici: Maison » Produits » Équipement de protection de l'environnement marin » Alarme de cale 15 ppm » Moniteur d'huile dans l'eau d'alarme de cale 15 ppm

CATÉGORIE DE PRODUIT

loading

Partager sur:
facebook sharing button
twitter sharing button
line sharing button
wechat sharing button
linkedin sharing button
pinterest sharing button
sharethis sharing button

Moniteur d'huile dans l'eau d'alarme de cale 15 ppm

Le moniteur d'huile dans l'eau d'alarme de cale de 15 ppm est utilisé pour détecter et mesurer la teneur en huile dans l'eau. OCM utilise une gamme de technologies de mesure pour s'adapter à différentes applications, Comme pour la détection continue du pétrole et des eaux usées dans la cale du navire, et la surveillance des eaux usées huileuses dans les domaines de l'industrie chimique, du pétrole et de la protection de l'environnement.
Quantité:
Alarme de cale de 15 ppm Moniteur d'huile dans l'eau
L'alarme de cale de 15 ppm peut afficher  le résultat  de la mesure  ,  définir une valeur d'avertissement de 15  ppm  ,  
émettre  un  signal  analogique  du  contrôle  de  décharge  standard  des  eaux  usées  ,  montant  total  à  la  valeur  de  mesure  ,  et  fournir  ces  services  ,
notamment l'  impression  de données  ,  le  stockage  et  l'  interrogation  des  données  historiques  ,  etc.
Alarme de cale 15 ppm (5) Alarme de cale 15 ppm (15) Alarme de cale 99 ppm 1

Paramètres  de performance      
Plage  de mesure :        30 ppm (lorsque  la  concentration  mesurée  de l'eau de  l'échantillon  est  supérieure à  40 ppm,  le tuyau  numérique  commence  à  afficher  80 ppm). Précision
de mesure  :                ± 5 ppm
Indication  d'alarme :                          deux  LED  émettrices Affichage
de la valeur  de concentration  :        LED  3 bits Point
d'alarme  :                                  15 ppm  
Charge  du  contact  du relais  d'alarme  :   5 A/220 V
Signal  analogique  de sortie :                    4 ~ 20 mA  ou  0 ~ 10 V  DC      
Pression  du liquide  d'alimentation :                      0,01 ~ 0,5 MPa
Poids :                                      environ  13,5 kg
Alimentation  :                                  AC220 ± 10 %  50 Hz ± 5 %.
consommation  :                      20W Degré
de sauvegarde  :                        IP45  
Environnement  opérationnel :      0~55℃,  humidité  relative  95~100%,  structure
 
normale
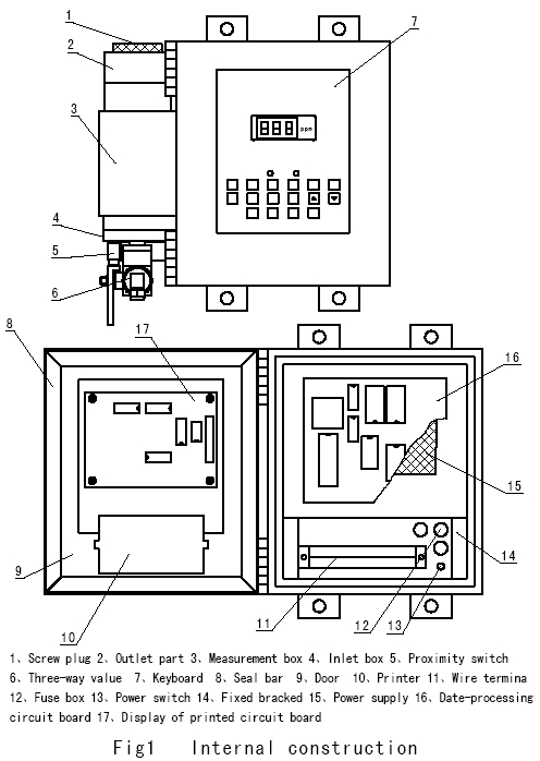
À l'intérieur d'  une structure  détaillée  de surveillance huile dans l'eau de 15 ppm
Alarme de cale 15 ppm

sur: 
En vertu d'un: 
Demande de produit

Navigation

Liste de produits

Navigation

Contactez-nous

Tél. : 0086-023-62984891
Fax : 0086-023-62613622
WhatsApp/Mob : 0086 15922636221
E-mail : master@hy-industry.com

 
Copyright © 2020 Gathering Marine Equipment Co., Ltd. Propulsé par Leadong